安全现已变为物联网时代的重要任务,尤其是在硬件方面。Maxim期望根据其加密处理器为物联网应用提供安全性和低功耗。
Maxim是位于世界领先地位的半导体制造供货商,模拟和混合信息处理方案商品是Maxim的重点业务之一,并且Maxim也一直专注于创新产品,以此为顾客提供更为广泛的商品选择和更高质量的产品服务,近期Maxim推出了一款新产品---ChipDNA PUF技术的物联网安全芯片。

MaximIntegrated一直在认真完成这一目标。该企业前不久推出了一款新的低功耗加密控制器,运用物理不可复制函数(PUF)技术来提升硬件安全性。
由于世界更加变得数字化,网络安全的隐患和恐惧也在提升。仅有软件架构设计的安全现已不能符合安全性的需求,反而是更加需要在设计硬件时,乃至硅的方面,就开始考量安全性。
Maxim的ChipDNAPUF
MaximIntegrated在PUF技术上进行了不少资金投入,其旗下知名商品是ChipDNAPUF。
ChipDNA的工作原理是运用CMOS设计中自然产生的任意变动和模拟特点的错配。如图所示展示了PUF构架的简易框图,示例密钥尺寸为128比特。

图中展示了1个由256个模拟PUF元器件构成的16x16阵列,这些组成了一百二十八对。因为工艺上的变动,每个元器件都是会体现出随机的I/V特性,随后Maxim借助对每对元器件的电路级对比来生成二进制值。整个流程对所有一百二十八对重复开展,全部形成1个独特的一百二十八位密钥输出。
最重要的是,作为1个硬件级的安全特征,ChipDNAPUF能够对全部已知的入侵性进攻(即探测)彻底免疫,因而能够变成带来硬件级安全的方式。
Maxim和 PUF的ChipDNAPUF技术目前已经了解了其通常概念,让大家最终深层次认识一下全新的版本。
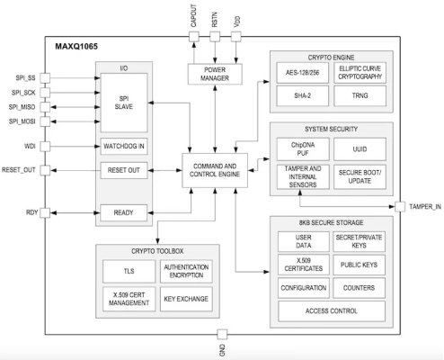
MAXQ1065=功耗低和安全性
MAXQ1065是一款用以物联网的超功耗低加密控制器。
物联网应用中,功耗低是其最重要的层面其一。MAXQ1065达到了这一点,其待机时的功能损耗<100nA,Maxim称,与同种产品对比,其功能损耗可同行业30倍。
该元器件目的在于带来若干安全措施,包含信任根、相互认证、数据保密性和完整性及其安全启动等。

MAXQ1065的功能框架图。
在这个基础上,MAXQ1065使用ChipDNAPUF技术来避免设备级安全进攻。
其他硬件安全措施包含:
1.真正的随机数发生器(TRNG)
2.8kB的消费者数据安全存储器
3.TLS/DTLS1.2握手和记录层
关于PUF,它是硬件安全领域最重要的技术其一。

PUFs检测设备时能够应用challenge-response进行
PUF是1种硬件安全技术,运用原有的元器件特点变动,对给定的输入造成不可复制的、特有的设备响应。PUF的响应是唯一的、任意的和可重复的,它能够协助加密密钥的产生和"储存",使其在硬件或软件方面上难以被破译。
PUF的一个关键好处是,它是1种非易失性技术,但它也没在物理上"储存"钥匙。
反过来,PUF在需要时以考验--回复的形式构建密钥,过后密钥基本上瞬间被清除。"始终有一把钥匙,但你终究不能见到它。" MaximIntegrated是如此说的。"应用PUF能够在硬件方面上完成强劲和高度安全的加密密钥储存,这就是Maxim将其列入安全平台ChipDNAPUF的缘故。
将来,Maxim期待见到MAXQ1065在物联网设备中的运用,如supervisory control和数据采集(SCADA)、医疗设备、建筑和 Home Automation、Smart City和智能计量。伴随着世界越来越更加紧密相连,再次寻找功耗低与高安全的处理器将是非常重要的。
鄂公网安备 42011502001385号 鄂ICP备2021012849号